Còi xe ô tô là một trong những thiết bị an toàn quan trọng, đóng vai trò cảnh báo, cảnh báo nguy hiểm và hỗ trợ giao tiếp trên đường. Khi còi kêu nhỏ, yếu ớt hoặc không phát ra âm thanh rõ ràng, hành khách và tài xế sẽ mất đi một công cụ cảnh báo hữu ích, tiềm ẩn nguy cơ tai nạn, đặc biệt trong các tình huống khẩn cấp như tắc đường, tránh xe cắt ngang hoặc cảnh báo người đi bộ. Bài viết này sẽ cùng bạn đi sâu phân tích nguyên nhân khiến còi xe ô tô kêu nhỏ, hướng dẫn các bước kiểm tra cụ thể và cung cấp các phương pháp khắc phục hiệu quả, từ thao tác đơn giản tại nhà đến những giải pháp chuyên sâu cần sự hỗ trợ của kỹ thuật viên.
Có thể bạn quan tâm: Cầu Sau Xe Ô Tô Điện: Cấu Tạo, Vai Trò Và Kinh Nghiệm Lựa Chọn
Hiểu rõ về hệ thống còi xe ô tô
Tổng quan nội dung
Hệ thống còi xe ô tô không chỉ đơn giản là một thiết bị phát ra âm thanh; nó là một phần thiết yếu của hệ thống an toàn bị động trên xe, được thiết kế để cảnh báo, cảnh báo và ngăn chặn tai nạn. Việc hiểu rõ cấu tạo và chức năng của từng bộ phận sẽ giúp bạn dễ dàng hơn trong việc xác định nguyên nhân và đưa ra phương án xử lý phù hợp.
Vai trò của còi trong an toàn giao thông
Còi xe ô tô không phải là một phụ kiện trang trí hay một công cụ để “khoe khoang” mà là một thiết bị an toàn. Nó đóng vai trò như một phương tiện giao tiếp phi ngôn ngữ giữa các phương tiện tham gia giao thông và người đi bộ.
- Cảnh báo nguy hiểm: Trong các tình huống khẩn cấp, như có phương tiện cắt ngang, người đi bộ băng qua đường ở nơi không có vạch kẻ, hoặc khi có nguy cơ va chạm, một tiếng còi mạnh mẽ có thể cảnh báo kịp thời cho những người tham gia giao thông khác, giúp họ điều chỉnh hành vi và tránh tai nạn.
- Cảnh báo khi vượt xe: Khi muốn vượt xe phía trước, đặc biệt trong điều kiện thời tiết xấu hoặc tầm nhìn bị hạn chế, tài xế thường sử dụng còi để thông báo cho phương tiện phía trước biết ý định của mình, tránh va chạm do bất ngờ.
- Giao tiếp trên đường: Trong một số hoàn cảnh nhất định, còi xe còn được dùng để giao tiếp xã giao, ví dụ như một tiếng còi nhẹ để cảm ơn khi có phương tiện khác nhường đường.
- Hỗ trợ trong điều kiện đặc biệt: Khi di chuyển trong khu vực sương mù, thời tiết mưa lớn, hoặc trong các khu vực đông dân cư có nhiều tiếng ồn, một chiếc còi có âm lượng lớn sẽ giúp xe của bạn dễ dàng được nhận diện hơn.
Việc còi xe kêu nhỏ hoặc không hoạt động đúng cách không chỉ gây khó chịu cho người lái mà còn làm giảm đáng kể khả năng phòng ngừa tai nạn của phương tiện, đặc biệt là trong các tình huống khẩn cấp đòi hỏi phản ứng nhanh.
Các loại còi xe ô tô phổ biến
Trên thị trường hiện nay, có ba loại còi xe ô tô phổ biến nhất, mỗi loại có ưu và nhược điểm riêng, cũng như các nguyên nhân hư hỏng đặc trưng.
1. Còi điện từ (Electromagnetic Horn)
Đây là loại còi phổ biến nhất trên các dòng xe phổ thông. Nguyên lý hoạt động dựa trên hiện tượng từ trường sinh ra khi dòng điện chạy qua cuộn dây. Khi tài xế bấm còi, dòng điện chạy qua cuộn dây, tạo ra từ trường hút một màng thép, màng thép rung động và phát ra âm thanh.
- Ưu điểm: Cấu tạo đơn giản, giá thành rẻ, dễ dàng thay thế và sửa chữa.
- Nhược điểm: Độ bền tương đối, âm thanh không quá lớn so với các loại còi khác, dễ bị ảnh hưởng bởi bụi bẩn và độ ẩm.
2. Còi nén khí (Air Horn)
Loại còi này sử dụng khí nén để tạo ra âm thanh, thường được trang bị trên các xe tải lớn, xe khách hoặc một số xe hơi cao cấp muốn có âm thanh “khủng”. Hệ thống còi nén khí bao gồm một máy nén khí, bình chứa khí và bản thân chiếc còi.
- Ưu điểm: Âm thanh to, vang và uy lực, có thể nghe thấy ở khoảng cách rất xa.
- Nhược điểm: Cấu tạo phức tạp, chiếm nhiều không gian, giá thành cao, cần bảo dưỡng hệ thống nén khí định kỳ.
3. Còi điện cơ (Electro-Mechanical Horn)
Đây là loại còi kết hợp giữa nguyên lý điện từ và cơ khí. Một màng rung được điều khiển bởi một nam châm điện, khi dòng điện đi qua, màng rung sẽ dao động và tạo ra âm thanh. Còi điện cơ thường có âm thanh rõ ràng và mạnh mẽ hơn còi điện từ thông thường.
- Ưu điểm: Âm thanh to, rõ, độ bền cao hơn còi điện từ.
- Nhược điểm: Giá thành cao hơn còi điện từ, cấu tạo phức tạp hơn.
Việc xác định loại còi xe trên xe của bạn là bước đầu tiên quan trọng, vì mỗi loại còi có các phương pháp kiểm tra và khắc phục khác nhau. Thông thường, các xe phổ thông từ 4 đến 7 chỗ thường sử dụng còi điện từ hoặc còi điện cơ, trong khi các loại xe tải, xe khách mới sử dụng còi nén khí.
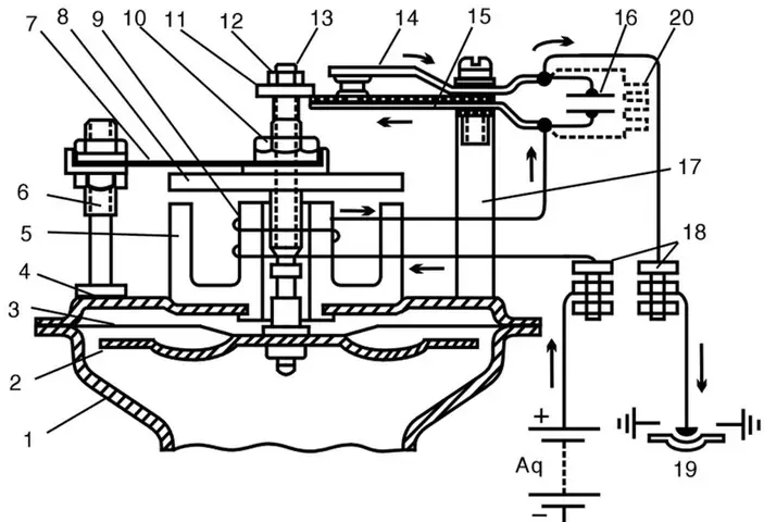
Các bộ phận chính trong hệ thống còi
Một hệ thống còi xe ô tô hoàn chỉnh bao gồm nhiều bộ phận kết nối với nhau. Khi một trong những bộ phận này gặp trục trặc, còi xe có thể kêu nhỏ, kêu rè hoặc không kêu.
1. Nút bấm còi (Horn Button)
Đây là bộ phận mà tài xế trực tiếp thao tác. Nút bấm thường được tích hợp trên vô-lăng, khi ấn vào sẽ đóng mạch điện, cấp nguồn cho còi hoạt động.
- Vấn đề thường gặp: Nút bấm bị kẹt, tiếp xúc kém do bụi bẩn hoặc han gỉ, dây nối từ nút bấm đến công tắc bị đứt hoặc hở.
2. Rơ-le còi (Horn Relay)
Rơ-le là một công tắc điện từ, đóng vai trò trung gian giữa nút bấm và còi. Khi nút bấm được ấn, một dòng điện nhỏ sẽ kích hoạt rơ-le, và rơ-le sẽ cấp dòng điện lớn cho còi hoạt động. Việc sử dụng rơ-le giúp bảo vệ nút bấm khỏi dòng điện lớn, tránh hiện tượng cháy nút.
- Vấn đề thường gặp: Rơ-le bị cháy, kẹt, hoặc tiếp điểm bên trong bị mòn, dẫn đến việc cấp điện không ổn định cho còi.
3. Còi (Horn Unit)
Đây là bộ phận phát ra âm thanh. Như đã đề cập, còi có thể là điện từ, nén khí hoặc điện cơ. Còi thường được lắp đặt ở vị trí thoáng, ít bị che khuất bởi các bộ phận khác của xe để âm thanh có thể truyền đi xa.
- Vấn đề thường gặp: Màng rung bị biến dạng, vỡ, cuộn dây bị cháy, hoặc còi bị ẩm, rỉ sét.
4. Công tắc đánh lửa (Ignition Switch)
Một số hệ thống còi được thiết kế để chỉ hoạt động khi chìa khóa ở vị trí ACC (phụ tải điện) hoặc ON (động cơ đang nổ). Công tắc đánh lửa kiểm soát việc cấp nguồn cho toàn bộ hệ thống điện trên xe, bao gồm cả còi.
- Vấn đề thường gặp: Công tắc đánh lửa bị hỏng, tiếp xúc kém, dẫn đến việc cấp điện cho hệ thống còi không ổn định.
5. Dây dẫn và giắc cắm (Wiring and Connectors)
Các dây dẫn và giắc cắm là “mạch máu” của hệ thống, truyền tải dòng điện từ ắc-quy đến các bộ phận khác nhau của hệ thống còi. Dây dẫn bị đứt, hở, hoặc giắc cắm bị lỏng, oxy hóa đều có thể gây ra hiện tượng còi kêu nhỏ.
- Vấn đề thường gặp: Dây dẫn bị chuột cắn, bị mài mòn do ma sát với các bộ phận kim loại, giắc cắm bị oxy hóa, lỏng lẻo.
6. Ắc-quy (Battery)
Ắc-quy là nguồn cung cấp điện năng cho toàn bộ hệ thống điện trên xe, bao gồm cả còi. Nếu ắc-quy yếu hoặc bị lỗi, còi sẽ không nhận đủ điện năng để hoạt động ở công suất tối đa, dẫn đến hiện tượng kêu nhỏ.
- Vấn đề thường gặp: Ắc-quy yếu, điện áp thấp, các cọc ắc-quy bị oxy hóa.
Việc hiểu rõ chức năng và vị trí lắp đặt của từng bộ phận sẽ giúp bạn dễ dàng hơn trong việc kiểm tra và chẩn đoán bệnh cho hệ thống còi xe của mình.
Các nguyên nhân phổ biến khiến còi xe ô tô kêu nhỏ
Còi xe ô tô kêu nhỏ là một hiện tượng khá phổ biến và có thể xuất phát từ nhiều nguyên nhân khác nhau. Việc xác định chính xác nguyên nhân là bước then chốt để đưa ra phương pháp khắc phục hiệu quả. Dưới đây là các nguyên nhân phổ biến nhất, được sắp xếp từ đơn giản đến phức tạp.
1. Nút bấm còi bị bẩn hoặc tiếp xúc kém
Nút bấm còi là bộ phận mà tài xế sử dụng hàng ngày, do đó rất dễ bị bám bẩn, bụi, mồ hôi tay. Lâu ngày, các chất bẩn này có thể tích tụ bên trong nút bấm, làm giảm khả năng tiếp xúc điện giữa các tiếp điểm.
- Triệu chứng: Còi kêu nhỏ, kêu từng hồi, hoặc chỉ kêu khi ấn mạnh vào một vị trí nhất định trên vô-lăng.
- Cách khắc phục: Tháo nút bấm còi (thường cần tháo một số ốp vô-lăng), dùng khăn mềm và cồn isopropyl để vệ sinh các tiếp điểm. Tránh sử dụng nước hoặc các chất tẩy rửa mạnh vì có thể làm hỏng các bộ phận điện tử.
2. Rơ-le còi bị lỗi

Có thể bạn quan tâm: Có Xe Ô Tô Cần Cho Thuê: Hướng Dẫn Từ A-z Về Hợp Đồng, Pháp Lý Và Kinh Nghiệm
Rơ-le còi là một bộ phận quan trọng, đóng vai trò như một công tắc điện từ trung gian. Khi rơ-le bị lỗi, nó không thể cấp đủ dòng điện cho còi hoạt động, dẫn đến hiện tượng còi kêu nhỏ hoặc không kêu.
- Triệu chứng: Khi bấm còi, có thể nghe thấy tiếng “tạch” nhẹ phát ra từ hộp cầu chì (nơi đặt rơ-le), nhưng còi không kêu hoặc kêu rất nhỏ.
- Cách kiểm tra: Bạn có thể thử thay rơ-le bằng một rơ-le mới cùng loại. Nếu còi hoạt động bình thường trở lại, chứng tỏ rơ-le cũ đã hỏng. Ngoài ra, bạn cũng có thể dùng đồng hồ đo điện để kiểm tra xem rơ-le có đóng/ngắt đúng theo tín hiệu điều khiển hay không.
3. Còi bị ẩm, rỉ sét hoặc bụi bẩn bám vào
Còi xe thường được lắp đặt ở vị trí gần mặt ca-lăng hoặc gầm xe, nơi thường xuyên tiếp xúc với nước, bụi bẩn và các tác nhân gây ăn mòn. Khi còi bị ẩm hoặc rỉ sét, màng rung không thể dao động tự do, dẫn đến âm thanh phát ra bị nhỏ, rè hoặc biến dạng.
- Triệu chứng: Còi kêu nhỏ, âm thanh bị rè, có tiếng kêu “lạch cạch” bên trong khi bấm còi.
- Cách khắc phục: Tháo còi ra khỏi xe, dùng khăn khô lau sạch bụi bẩn bên ngoài. Nếu còi bị ẩm nhẹ, có thể để nơi khô ráo vài giờ. Trong trường hợp rỉ sét nặng, có thể cần thay thế còi mới. Lưu ý: Không nên tự ý tháo rời còi để vệ sinh bên trong nếu không có kinh nghiệm, vì có thể làm hỏng màng rung.
4. Dây dẫn điện bị đứt, hở hoặc tiếp xúc kém
Hệ thống dây điện của còi bao gồm nhiều đoạn nối từ ắc-quy đến rơ-le, từ rơ-le đến còi, và từ còi về mass (mát). Nếu một trong những đoạn dây này bị đứt, hở, hoặc các giắc cắm bị lỏng, oxy hóa, dòng điện truyền đến còi sẽ bị giảm, khiến còi kêu nhỏ.
- Triệu chứng: Còi có thể kêu bất thường, lúc được lúc không, hoặc chỉ kêu khi rung lắc nhẹ vô-lăng.
- Cách kiểm tra: Dùng đồng hồ đo điện (VOM) để kiểm tra thông mạch của các đoạn dây. Ngoài ra, hãy kiểm tra các giắc cắm xem có bị lỏng, han gỉ hay không. Nếu phát hiện dây bị đứt, cần nối lại và bọc kín bằng băng keo điện chất lượng cao.
5. Ắc-quy yếu hoặc điện áp không ổn định
Ắc-quy là nguồn cung cấp điện năng cho toàn bộ hệ thống điện trên xe, bao gồm cả còi. Khi ắc-quy yếu, điện áp cung cấp cho còi không đủ, dẫn đến hiện tượng còi kêu nhỏ, đặc biệt là khi động cơ đang nổ máy.
- Triệu chứng: Còi kêu nhỏ, đặc biệt khi đề nổ xe hoặc khi các thiết bị điện khác đang hoạt động (đèn pha, điều hòa, loa…). Đèn trên xe cũng có thể mờ hơn bình thường.
- Cách kiểm tra: Dùng đồng hồ đo điện để kiểm tra điện áp của ắc-quy khi động cơ tắt và khi động cơ đang nổ. Điện áp bình thường của ắc-quy khi xe tắt máy là khoảng 12.6V. Khi động cơ nổ, điện áp sẽ được máy phát điện sạc lại và dao động trong khoảng 13.7V đến 14.7V. Nếu điện áp thấp hơn mức này, có thể ắc-quy đã yếu hoặc máy phát điện có vấn đề.
6. Còi bị hỏng hoặc xuống cấp theo thời gian
Giống như bất kỳ thiết bị điện nào khác, còi xe cũng có tuổi thọ nhất định. Sau một thời gian dài sử dụng, các bộ phận bên trong còi như cuộn dây, màng rung có thể bị mài mòn, biến dạng hoặc cháy, dẫn đến hiệu suất hoạt động giảm sút.
- Triệu chứng: Còi kêu nhỏ, âm thanh thay đổi so với ban đầu, hoặc có mùi khét nhẹ khi bấm còi trong thời gian dài.
- Cách khắc phục: Trong trường hợp này, việc sửa chữa thường không hiệu quả và tốn kém. Cách tốt nhất là thay thế bằng một chiếc còi mới cùng loại hoặc có thông số kỹ thuật tương đương.
Hướng dẫn kiểm tra và chẩn đoán hệ thống còi
Việc kiểm tra và chẩn đoán hệ thống còi là bước quan trọng để xác định chính xác nguyên nhân khiến còi xe ô tô kêu nhỏ. Bạn có thể thực hiện các bước kiểm tra này tại nhà với một số dụng cụ cơ bản, hoặc nếu không tự tin, hãy đưa xe đến garage để được kỹ thuật viên kiểm tra chuyên sâu. Dưới đây là hướng dẫn chi tiết từng bước kiểm tra.
Chuẩn bị dụng cụ cần thiết
Trước khi bắt đầu, hãy chuẩn bị đầy đủ các dụng cụ cần thiết để quá trình kiểm tra diễn ra thuận lợi và an toàn.
- Đồng hồ đo điện (VOM – Volt-Ohm-Milliamp Meter): Đây là dụng cụ không thể thiếu để kiểm tra điện áp, thông mạch và điện trở. Bạn có thể mua loại đồng hồ đo điện kỹ thuật số (digital) vì chúng dễ đọc và có độ chính xác cao.
- Tuốc-nơ-vít (các loại đầu dẹt và đầu chữ thập): Để tháo các ốc vít cố định nút bấm còi, rơ-le, hoặc còi.
- Kìm điện và kìm tuốt dây: Để cắt, tuốt vỏ dây điện và kẹp các mối nối.
- Băng keo điện chất lượng cao: Để bọc kín các mối nối điện, tránh hiện tượng chập cháy.
- Găng tay bảo hộ và kính bảo hộ: Đảm bảo an toàn trong quá trình thao tác với hệ thống điện.
- Bình ắc-quy dự phòng (nếu cần): Trong một số trường hợp, việc tháo ắc-quy để kiểm tra có thể làm mất điện cho một số hệ thống trên xe. Việc sử dụng bình ắc-quy dự phòng có thể giúp duy trì điện năng trong quá trình kiểm tra.
Kiểm tra nút bấm còi
Nút bấm còi là điểm khởi đầu của toàn bộ hệ thống. Việc kiểm tra nút bấm giúp loại trừ nguyên nhân do tiếp xúc kém ngay từ đầu.
Bước 1: Tháo ốp vô-lăng (nếu cần)
Tùy thuộc vào thiết kế của từng dòng xe, việc tiếp cận nút bấm còi có thể cần tháo một phần ốp vô-lăng. Hãy tra cứu sách hướng dẫn sử dụng xe hoặc tìm video hướng dẫn tháo ốp vô-lăng cho đúng dòng xe của bạn để tránh làm hỏng các chi tiết.
Bước 2: Tháo nút bấm còi
Sau khi đã tiếp cận được nút bấm, hãy tháo các ốc vít cố định nút bấm. Nhẹ nhàng rút dây nối từ nút bấm ra khỏi giắc cắm.
Bước 3: Vệ sinh tiếp điểm
Dùng khăn mềm và cồn isopropyl để lau sạch các tiếp điểm trên nút bấm. Cồn isopropyl bay hơi nhanh và không để lại cặn, rất phù hợp để làm sạch các bộ phận điện tử.
Bước 4: Kiểm tra thông mạch
Dùng đồng hồ đo điện ở chế độ đo thông mạch (continuity), đặt hai que đo vào hai tiếp điểm của nút bấm. Khi ấn nút, đồng hồ phải kêu “bíp” liên tục, chứng tỏ mạch điện đang thông. Nếu không nghe thấy tiếng “bíp”, có thể tiếp điểm bên trong nút bấm đã bị hỏng và cần thay thế.
Kiểm tra rơ-le còi
Rơ-le còi là một bộ phận dễ kiểm tra và cũng là nguyên nhân phổ biến nhất khiến còi kêu nhỏ. Hộp rơ-le thường được đặt ở khoang động cơ hoặc trong cabin, gần bảng cầu chì.
Bước 1: Xác định vị trí rơ-le còi
Mở nắp hộp cầu chì, tra cứu sơ đồ in trên nắp hộp để xác định rơ-le nào điều khiển còi. Các rơ-le thường được đánh số hoặc ghi chú rõ ràng.
Bước 2: Tháo rơ-le ra khỏi ổ cắm
Nhẹ nhàng rút rơ-le ra khỏi ổ cắm. Quan sát các tiếp điểm trên rơ-le xem có bị cháy, đen xém hay không.
Bước 3: Kiểm tra rơ-le bằng đồng hồ đo điện
- Kiểm tra cuộn dây điều khiển: Dùng đồng hồ đo điện ở chế độ đo điện trở (Ohm), đặt hai que đo vào hai chân điều khiển (thường là chân 85 và 86). Nếu đồng hồ hiển thị điện trở vô cùng lớn hoặc không có gì, cuộn dây đã bị đứt.
- Kiểm tra tiếp điểm đóng/ngắt: Ở chế độ đo thông mạch, đặt que đo vào hai chân công tắc (thường là chân 30 và 87). Khi chưa cấp điện cho cuộn dây, tiếp điểm này phải hở (không thông). Khi cấp điện (có thể dùng pin 9V để cấp điện cho cuộn dây), tiếp điểm phải đóng (có tiếng “tạch” và đồng hồ kêu “bíp”).
Bước 4: Thay rơ-le mới
Nếu rơ-le đã hỏng, hãy thay thế bằng một rơ-le mới cùng loại. Thông thường, các rơ-le có thông số kỹ thuật giống nhau có thể thay thế cho nhau. Tuy nhiên, để đảm bảo an toàn, hãy chọn rơ-le đúng型号 (model) như trong sách hướng dẫn sử dụng xe.
Kiểm tra còi
Sau khi đã kiểm tra nút bấm và rơ-le, bước tiếp theo là kiểm tra trực tiếp còi. Việc này giúp xác định xem còi có bị ẩm, rỉ sét hay hỏng hóc bên trong hay không.

Có thể bạn quan tâm: Cấu Tạo Củ Đề Xe Ô Tô: Giải Mã Hệ Thống Khởi Động Từ A-z
Bước 1: Xác định vị trí còi
Còi thường được lắp ở vị trí thoáng, gần mặt ca-lăng hoặc gầm xe. Bạn có thể nghe tiếng kêu để xác định vị trí chính xác.
Bước 2: Tháo còi ra khỏi xe
Tháo các ốc vít cố định còi, rút giắc cắm dây điện ra khỏi còi. Lưu ý đánh dấu vị trí các dây để tránh nhầm lẫn khi lắp lại.
Bước 3: Vệ sinh bên ngoài còi
Dùng khăn khô lau sạch bụi bẩn bám bên ngoài còi. Nếu còi bị ẩm nhẹ, có thể để nơi khô ráo vài giờ. Tránh dùng nước hoặc các chất tẩy rửa mạnh để vệ sinh còi.
Bước 4: Kiểm tra thông mạch và điện trở
- Kiểm tra thông mạch: Dùng đồng hồ đo điện ở chế độ đo thông mạch, đặt hai que đo vào hai cực của còi. Nếu đồng hồ không kêu “bíp”, cuộn dây bên trong còi đã bị đứt.
- Kiểm tra điện trở: Chuyển đồng hồ sang chế độ đo điện trở (Ohm). Điện trở của một chiếc còi bình thường thường nằm trong khoảng từ 2 đến 8 Ohm. Nếu điện trở quá cao hoặc vô cùng lớn, còi đã bị hỏng.
Bước 5: Kiểm tra bằng nguồn điện trực tiếp
Nếu có điều kiện, bạn có thể dùng một nguồn điện 12V (có thể lấy từ ắc-quy) để cấp điện trực tiếp cho còi. Lưu ý: Chỉ thực hiện thao tác này nếu bạn am hiểu về điện. Nếu còi kêu to và rõ khi cấp điện trực tiếp, chứng tỏ còi vẫn còn tốt và nguyên nhân nằm ở hệ thống dây dẫn hoặc rơ-le.
Kiểm tra dây dẫn và giắc cắm
Hệ thống dây dẫn là “mạch máu” của hệ thống còi. Dây dẫn bị đứt, hở hoặc các giắc cắm bị oxy hóa đều có thể là nguyên nhân khiến còi kêu nhỏ.
Bước 1: Kiểm tra trực quan
Dọc theo đường đi của dây còi (từ ắc-quy đến rơ-le, từ rơ-le đến còi), hãy kiểm tra xem có dây nào bị đứt, hở, hoặc bị mài mòn do ma sát với các bộ phận kim loại hay không. Đặc biệt chú ý các đoạn dây đi gần các bộ phận chuyển động hoặc có nhiệt độ cao.
Bước 2: Kiểm tra các giắc cắm
Kiểm tra tất cả các giắc cắm trong hệ thống còi, từ giắc nối ở nút bấm, rơ-le đến còi. Xem các chân cắm có bị cong, gãy hay oxy hóa không. Dùng khăn mềm lau sạch các chân cắm bị oxy hóa.
Bước 3: Kiểm tra thông mạch của dây dẫn
Dùng đồng hồ đo điện ở chế độ đo thông mạch, đặt một que đo vào điểm đầu của đoạn dây, que còn lại vào điểm cuối. Nếu đồng hồ kêu “bíp”, đoạn dây đang thông. Nếu không, đoạn dây đã bị đứt hoặc hở.
Bước 4: Sửa chữa hoặc thay thế dây dẫn
Nếu phát hiện dây bị đứt, hãy dùng kìm tuốt dây để tuốt lớp vỏ bọc, nối hai đầu dây lại với nhau bằng cách hàn hoặc dùng ốc siết mối nối, sau đó bọc kín bằng băng keo điện. Trong trường hợp dây bị mài mòn nặng hoặc có nhiều đoạn bị hư hỏng, tốt nhất nên thay thế bằng dây dẫn mới.
Kiểm tra ắc-quy và hệ thống sạc
Ắc-quy yếu hoặc hệ thống sạc không hoạt động đúng cách cũng là một nguyên nhân phổ biến khiến còi kêu nhỏ.
Bước 1: Đo điện áp ắc-quy khi xe tắt
Dùng đồng hồ đo điện ở chế độ đo điện áp một chiều (DCV), đặt que đỏ vào cọc dương (+) của ắc-quy, que đen vào cọc âm (-). Điện áp bình thường khi xe tắt phải nằm trong khoảng 12.4V đến 12.7V. Nếu điện áp thấp hơn 12V, ắc-quy đã yếu.
Bước 2: Đo điện áp ắc-quy khi xe nổ máy
Đề nổ xe, để động cơ chạy không tải. Đo lại điện áp ắc-quy. Lúc này, điện áp phải nằm trong khoảng 13.7V đến 14.7V. Nếu điện áp nằm ngoài khoảng này, có thể máy phát điện hoặc bộ điều chỉnh điện áp (voltage regulator) đang có vấn đề.
Bước 3: Kiểm tra các cọc ắc-quy
Quan sát các cọc ắc-quy xem có bị phủ một lớp muối trắng (do hiện tượng oxi hóa) hay không. Dùng bàn chải thép hoặc vải thô để làm sạch các cọc ắc-quy, sau đó tra một lớp mỡ chuyên dụng để chống oxi hóa.
Bước 4: Kiểm tra hệ thống sạc (nếu cần)
Nếu nghi ngờ máy phát điện có vấn đề, bạn có thể kiểm tra dòng điện nạp vào ắc-quy khi động cơ đang nổ. Tuy nhiên, thao tác này cần có kiến thức chuyên sâu về điện xe hơi và thiết bị đo chuyên dụng. Trong trường hợp này, tốt nhất nên đưa xe đến garage để được kiểm tra bởi kỹ thuật viên.
Các biện pháp khắc phục tại nhà
Sau khi đã tiến hành kiểm tra và xác định được nguyên nhân khiến còi xe ô tô kêu nhỏ, bạn có thể tự mình thực hiện một số biện pháp khắc phục đơn giản ngay tại nhà. Những thao tác này không đòi hỏi kỹ năng chuyên môn cao, nhưng cần sự cẩn thận và tuân thủ các quy tắc an toàn về điện.
Làm sạch nút bấm còi
Nút bấm còi là bộ phận tiếp xúc trực tiếp với tay lái, do đó rất dễ bị bám bẩn, bụi và mồ hôi. Việc vệ sinh nút bấm định kỳ có thể giúp cải thiện đáng kể hiệu suất của hệ thống còi.
Chuẩn bị:
- Khăn mềm, sạch
- Cồn isopropyl (isopropyl alcohol) 90% trở lên
- Tăm bông (cotton swabs)
- Tuốc-nơ-vít phù hợp để tháo ốp vô-lăng
Các bước thực hiện:
Tháo ốp vô-lăng (nếu cần): Tùy thuộc vào thiết kế của từng dòng xe, bạn có thể cần tháo một phần ốp vô-lăng để tiếp cận nút bấm còi. Hãy tra cứu sách hướng dẫn sử dụng xe hoặc tìm video hướng dẫn tháo ốp vô-lăng cho đúng dòng xe của bạn để tránh làm hỏng các chi tiết.
Tháo nút bấm còi: Sau khi đã tiếp cận được nút bấm, hãy tháo các ốc vít cố định nút bấm. Nhẹ nhàng rút dây nối từ nút bấm ra khỏi giắc cắm. Đặt các ốc vít vào một nơi an toàn để tránh làm rơi.
Làm sạch bề mặt nút bấm: Dùng khăn mềm thấm một ít cồn isopropyl để lau sạch bề mặt nút bấm. Cồn isopropyl bay hơi nhanh, không để lại cặn và rất an toàn cho các bộ phận điện tử.
Làm sạch các tiếp điểm bên trong: Dùng tăm bông thấm cồn để lau sạch các tiếp điểm bên trong nút bấm. Hãy nhẹ tay để tránh làm cong hoặc gãy các chân tiếp điểm nhỏ.
Làm khô hoàn toàn: Để nút bấm nơi khô ráo khoảng 10-15 phút để cồn bay hơi hoàn toàn. Không lắp lại nút bấm khi các bộ phận còn ẩm ướt.
Lắp lại và kiểm tra: Lắp nút bấm còi trở lại vị trí ban đầu, siết chặt các ốc vít. Cắm dây nối vào giắc cắm. Khởi động xe và thử bấm còi để kiểm tra xem âm thanh đã trở lại bình thường chưa.

Nguyên Nhân Còi Xe Ô Tô Lúc Kêu Lúc Không Có thể bạn quan tâm: Cầu Nâng Xe Ô Tô Trong Nhà: Hướng Dẫn Toàn Tập Cho Người Dùng
Thay rơ-le còi
Rơ-le còi là một bộ phận có tuổi thọ nhất định và rất dễ thay thế. Việc thay rơ-le mới có thể giúp khắc phục nhanh chóng hiện tượng còi kêu nhỏ do rơ-le bị lỗi.
Chuẩn bị:
- Rơ-le còi mới (cùng型号 với rơ-le cũ)
- Đồng hồ đo điện (để kiểm tra rơ-le cũ nếu cần)
Các bước thực hiện:
Xác định vị trí rơ-le còi: Mở nắp hộp cầu chì, tra cứu sơ đồ in trên nắp hộp để xác định rơ-le nào điều khiển còi. Các rơ-le thường được đánh số hoặc ghi chú rõ ràng.
Tháo rơ-le cũ: Nhẹ nhàng rút rơ-le ra khỏi ổ cắm. Quan sát các tiếp điểm trên rơ-le xem có bị cháy, đen xém hay không.
Lắp rơ-le mới: Cắm rơ-le mới vào đúng vị trí của rơ-le cũ. Đảm bảo rơ-le được cắm sâu và chắc chắn vào ổ.
Kiểm tra hoạt động: Khởi động xe và thử bấm còi. Nếu còi kêu to và rõ, chứng tỏ rơ-le mới đã khắc phục được sự cố.
Lưu ý: Khi mua rơ-le mới, hãy mang theo rơ-le cũ để so sánh型号 và đảm bảo mua đúng loại. Ngoài ra, một số dòng xe có thể dùng chung rơ-le cho nhiều hệ thống (đèn pha, bơm xăng…), bạn có thể tạm thời thay thế rơ-le còi bằng một rơ-le cùng loại từ hệ thống khác để kiểm tra, nhưng hãy nhớ thay lại ngay sau khi mua được rơ-le chính hãng.
Vệ sinh và bảo dưỡng còi
Việc vệ sinh và bảo dưỡng còi định kỳ có thể giúp kéo dài tuổi thọ và duy trì hiệu suất hoạt động của còi.
Chuẩn bị:
- Khăn mềm, sạch
- Bình khí nén (nếu có) hoặc bóng thổi bụi
- Dầu chống rỉ (WD-40 hoặc loại tương đương)
Các bước thực hiện:
Xác định vị trí còi: Còi thường được lắp ở vị trí thoáng, gần mặt ca-lăng hoặc gầm xe. Bạn có thể nghe tiếng kêu để xác định vị trí chính xác.
Tháo còi ra khỏi xe: Tháo các ốc vít cố định còi, rút giắc cắm dây điện ra khỏi còi. Lưu ý đánh dấu vị trí các dây để tránh nhầm lẫn khi lắp lại.
Vệ sinh bên ngoài còi: Dùng khăn mềm lau sạch bụi bẩn bám bên ngoài còi. Nếu có bình khí nén hoặc bóng thổi bụi, hãy dùng để thổi sạch các khe kẽ trên còi.
Xử lý rỉ sét nhẹ: Nếu phát hiện các vết rỉ sét nhẹ trên thân còi, hãy dùng giấy nhám mịn để chà nhẹ, sau đó phun một lớp dầu chống rỉ để bảo vệ.
Làm khô còi: Để còi nơi khô ráo khoảng 30 phút để đảm bảo không còn ẩm ướt.
Lắp lại còi: Lắp còi trở lại vị trí ban đầu, siết chặt các ốc vít. Cắm giắc cắm dây điện vào còi.
Kiểm tra hoạt động: Khởi động xe và thử bấm còi để kiểm tra xem âm thanh đã trở lại bình thường chưa.
Lưu ý: Không nên tự ý tháo rời còi để vệ sinh bên trong nếu không có kinh nghiệm, vì có thể làm hỏng màng rung hoặc cuộn dây. Việc vệ sinh bên ngoài là đủ để cải thiện hiệu suất hoạt động của còi trong hầu hết các trường hợp.
Kiểm tra và siết chặt các mối nối điện
Các mối nối điện bị lỏng hoặc oxy hóa là một nguyên nhân phổ biến khiến dòng điện truyền đến còi bị giảm, dẫn đến hiện tượng còi kêu nhỏ.
Chuẩn bị:
- Tuốc-nơ-vít
- Kìm điện
- Khăn mềm
- Dầu chống oxi hóa (nếu cần)
Các bước thực hiện:
Kiểm tra các giắc cắm: Kiểm tra tất cả các giắc cắm trong hệ thống còi, từ giắc nối ở nút bấm, rơ-le đến còi. Xem các chân cắm có bị cong, gãy hay oxy hóa không.
Làm sạch các chân cắm: Dùng khăn mềm lau sạch các chân cắm bị oxy hóa. Trong trường hợp oxy hóa nặng, có thể dùng giấy nhám mịn để chà nhẹ.
Siết chặt các mối nối: Dùng tuốc-nơ-vít để siết chặt các ốc siết mối nối điện. Đảm bảo các mối nối được siết vừa phải, không quá chặt (có thể làm đứt dây) hoặc quá lỏng (dễ bị bong ra).
Bọc kín các mối nối: Sau khi siết chặt, dùng băng keo điện để bọc kín các mối nối, tránh hiện tượng hở điện hoặc chập cháy.
Kiểm tra hoạt động: Khởi động xe và thử bấm còi để kiểm tra xem âm thanh đã trở lại bình thường chưa.
Sạc hoặc thay thế ắc-quy
Ắc-quy yếu là một trong những nguyên nhân phổ biến khiến còi kêu nhỏ. Việc sạc hoặc thay thế ắc-quy có thể giúp khắc phục nhanh chóng sự cố này.
Khi nào cần sạc ắc-quy:
- Điện áp ắc-quy khi
Cập Nhật Lúc Tháng 12 15, 2025 by Huỳnh Thanh Vi

